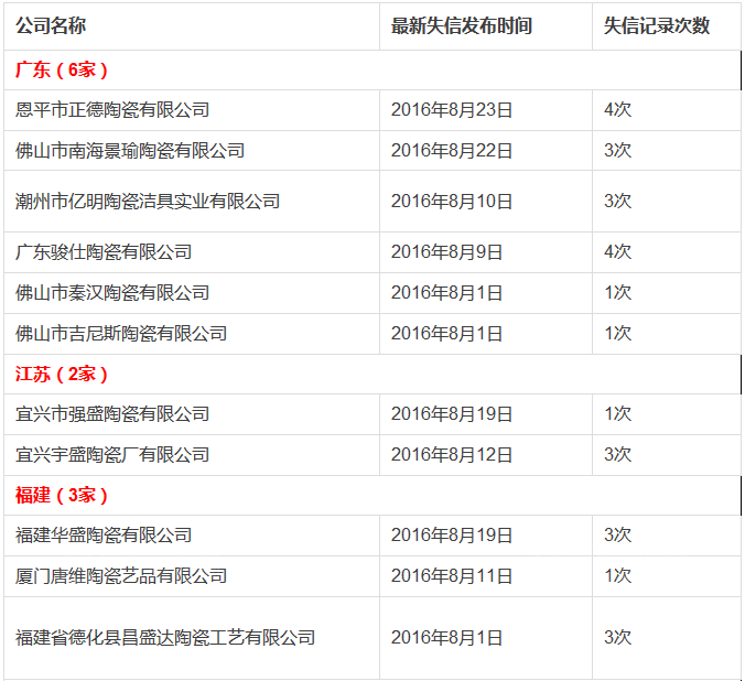
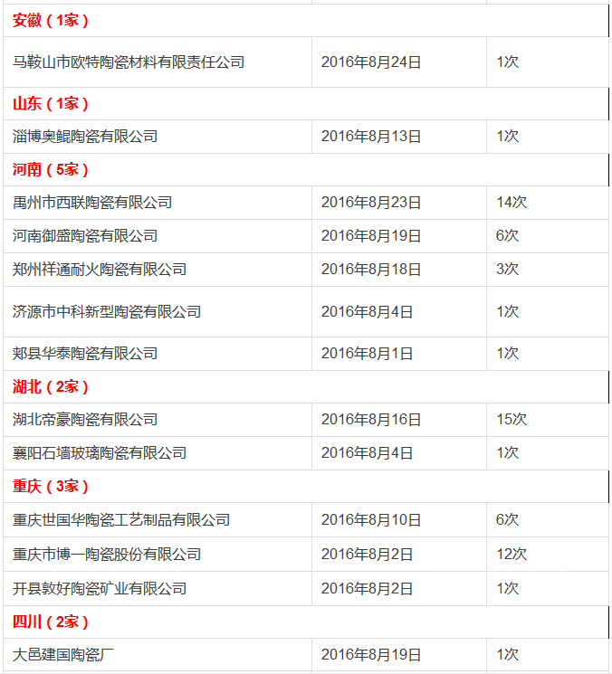
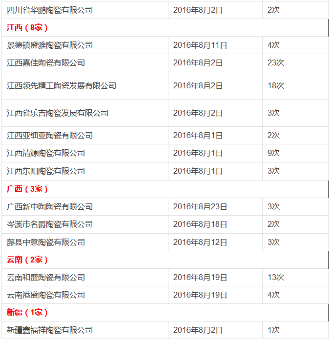
据最高人民法院及各地法院发布的失信被执行人信息统计,2016年8月,全国各地约有30余家陶瓷企业上榜“失信被执行人”名单,原因主要为欠款不还,大部分为拖欠供应商货款、拖欠工资、欠银行贷款未还以及拖欠融资租赁租金等,有企业失信金额大,已超千万元。其中,不少陶企有重复失信记录,最多者竟达20余次。
据悉,依据《最高人民法院关于公布失信被执行人名单信息的若干规定》以及《最高人民法院关于限制被执行人高消费的若干规定》执行部门可以对其进行信用惩戒。人民法院采用具有执行联动效应的失信被执行人制度,向有关单位定向通报失信被执行人名单信息,由受通报单位在政府采购、招标投标、行政审批、政府扶持、融资信贷、市场准入、资质认定等方面对失信被执行人施以信用惩戒,还可以对失信被执行人限制其高消费,包括限制支付高额保费购买保险产品,限制乘坐飞机、列车软卧、高铁,限制住宿较高星级宾馆,限制在夜总会、高尔夫球场消费,限制购买不动产,限制在一定范围的旅游、度假,限制子女就读高收费私立学校等。


